Vistas:27 Autor:Editor del sitio Hora de publicación: 2024-03-07 Origen:Sitio
Dibujar correcta y rápidamente los dibujos desplegados de los componentes de chapa es la premisa y base para producir piezas de chapa calificadas.En la producción real, para lograr este objetivo, a menudo se utilizan los diversos métodos de despliegue presentados anteriormente, combinados con un despliegue apropiado. Calcule el despliegue de piezas metálicas de arroz, lo que hace que el despliegue de chapa sea más rápido y preciso.
La expansión computacional de hoja de metal partes es utilizar cálculos analíticos para reemplazar el proceso de lofting y dibujo del método gráfico.Al calcular las coordenadas de los puntos en el diagrama de expansión, la longitud de los segmentos de línea y las expresiones analíticas de la curva, los gráficos se dibujan a través del software de dibujo de computadora, o mediante la computadora dibuja gráficos y corta directamente.
Teniendo en cuenta que la expansión gráfica de piezas de chapa todavía se utiliza en la producción, por esta razón, el dibujo de los siguientes diagramas de expansión de varios componentes de chapa se realizará con los cálculos adecuados.Los componentes de tubos redondos comunes se componen principalmente de los siguientes componentes estructurales y su cálculo de expansión es el siguiente.
Como se muestra en la figura, las dos secciones del codo de igual diámetro se pueden considerar como el plano de sección transversal y el eje del tubo circular se corta a 45°.La boca oblicua es una elipse y su expansión es una curva sinusoidal.Los diagramas de expansión simétricos de las dos secciones son los mismos.El valor de abscisa de la curva es igual a la circunferencia expandida del tubo circular x (dt), y el valor de ordenada de cada punto se puede calcular a partir del ángulo de bisección de la circunferencia de la sección del tubo circular.La fórmula de cálculo es:

La fórmula de cálculo anterior debe cambiarse en consecuencia según los diferentes valores de 'fracciones iguales del círculo'.Suponiendo que la fracción igual de la circunferencia es 16, las fórmulas de cálculo de cada punto igual son respectivamente (los siguientes ejemplos son iguales a este y no se repetirán).


Un codo de ángulo recto de igual diámetro y varias secciones se compone de varios tubos circulares truncados.Por lo general, se combina con dos secciones finales y múltiples secciones intermedias, y las dos secciones finales son iguales.La Figura 3-3 es una vista ampliada de un codo en ángulo recto de igual diámetro y tres secciones.La fórmula de cálculo de la expansión es:

Los ejes de las dos secciones extremas del tubo serpentino de tres secciones que se muestra en la Figura 3-4 son paralelos al plano de proyección ortográfica y la longitud real se refleja en la vista frontal;la sección central está inclinada hacia la derecha y hacia atrás, y las tres secciones no reflejan la forma real en la vista frontal.Las dimensiones conocidas en la figura son H, hi, h2, a, d, t y φ.Su fórmula de cálculo de expansión es:

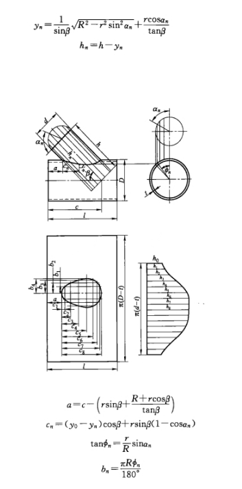
La figura muestra el ramal y el tubo principal formando una T diagonal de 8 ángulos.Las dimensiones conocidas son D, d, h, c, L y β.Puede verse en la figura que los dos tubos están en contacto diagonal tanto con el revestimiento interior como con el exterior.Para facilitar el cálculo cuando el espesor de la placa no es grande, siempre se utiliza el diámetro primitivo.
Su fórmula de cálculo de expansión es:

Como se muestra en la figura, está compuesto por la tubería principal 1, la tubería de día y la tubería de alimentación Ⅲ.La línea de intersección de los tres tubos es una curva plana y simétrica.Las dimensiones conocidas son d, H, 1, 6, t y 45°.La fórmula de cálculo del valor de coordenadas de la curva expandida ya es:

Cálculo de expansión de tubos en forma de Y de igual diámetro
La tubería en forma de Y de igual diámetro que se muestra en la figura también es un tipo de tubería en T, y la línea de intersección de las tres tuberías es una curva plana.Cuando el eje de cada tubo es paralelo al plano de proyección frontal, su línea de intersección se proyecta como tres líneas rectas que se encuentran en un punto de la superficie frontal, que se pueden dibujar directamente durante el dibujo.Las dimensiones conocidas son d, h, 2, t y 8. Los valores de coordenadas de la curva de expansión de cada tubo.La fórmula de cálculo es:

El tubo de alimentación en forma de Y de igual diámetro que se muestra en la figura está compuesto por dos secciones de codos y tubos de ángulo arbitrario y el tubo de alimentación III.Las dimensiones conocidas son d, h, a, 1, t y 8. La fórmula para calcular el valor de las coordenadas y de la curva de expansión de cada tubo es:

La figura muestra una T en espiga compuesta por dos conjuntos de codos de múltiples secciones con diámetros y ángulos iguales.Un conocido:

Las dimensiones son el radio del centro del codo R, el diámetro exterior del tubo redondo d, el espesor de la placa t y el número de secciones N (N=4).Para evitar un dibujo tedioso, el tubo en espiga debe combinarse en solo dos secciones (solo se deben cortar dos secciones de tubo).Mediante cálculo, se puede concluir que cuando el radio central R ≥ 1.336d de la T en espiga compuesta por cuatro codos en ángulo recto de igual diámetro, solo se combinará en dos secciones.
Si R es menor que la proporción anterior, combine en tres secciones (corte el tubo de tres secciones).Para evitar cortar la tubería de tres secciones, al diseñar la tubería en T en espiga, se debe tomar R>1.4d.Se puede calcular la longitud 6 de la línea recta del corte del tubo.
